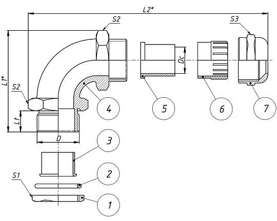
| Артикул | Тип изделия | Типоразмер резьбы D, мм | Диапазон диаметров кабеля Dc, мм | Размер Lt, мм | Размер L1*, мм | Размер L2*, мм | Размер под ключ S1/S2/S3 | Остаток | Цена, ₽ с НДС | Купить |
|---|---|---|---|---|---|---|---|---|---|---|
| zeta30995 | ВК90-ЛР-М12-8-L10 | М12х1,5 | 4-8 | 10 | 45 | 55 | 14/22/20 | Под заказ |
915.57
|
|
| zeta30996 | ВК90-ЛР-М16-8-L10 | М16х1,5 | 4-8 | 10 | 45 | 55 | 18/22/20 | Под заказ |
966.44
|
|
| zeta30997 | ВК90-ЛР-М20-12-L10 | М20х1,5 | 6-12 | 10 | 48 | 58 | 22/25/22 | Под заказ |
1846.23
|
|
| zeta30998 | ВК90-ЛР-М25-18-L10 | М25х1,5 | 13-18 | 10 | 55 | 68 | 27/30/30 | Под заказ |
2352.50
|
|
| zeta30999 | ВК90-ЛР-М32-22-L12 | М32х1,5 | 15-22 | 12 | 60 | 71 | 35/34/34 | Под заказ |
3913.81
|
Кабельный ввод ВК90 латунный предназначен для ввода проводов и небронированных кабелей круглого сечения в электрощитовое оборудование под прямым углом с целью защиты проводников от механического повреждения и защиты самой сборки от проникновения пыли и влаги в месте ввода.
Монтажа в ограниченном пространстве и ввода кабеля под прямым углом в корпус оборудования.

Вид изделия
Кабельный ввод 90 градусовМатериал уплотнителя
Резина маслостойкаяКлиматическое исполнение
УТ 1, 5Температура эксплуатации
от -40 до +100 °СМатериал
Никелированная латуньСтепeнь IP
IP66/IP67/IP68Изготавливается по
ТУ 27.33.13.130-055-99856433-2023Бренд
ГОФРОМАТИК